< Előző | Tartalom | Következő >
5.2.1.7 Különleges előírások a radioaktív anyagok jelölésére
5.2.1.7.1 Minden küldeménydarabon a csomagolás külső oldalán jól olvashatóan és tartósan fel kell tüntetni a feladó vagy a címzett, vagy mindkettő azonosító adatait. Minden egyesítőcsomagolás külső oldalán jól olvashatóan és tartósan fel kell tüntetni a feladó vagy a címzett, vagy mindkettő azonosító adatait, kivéve, ha az egyesítő- csomagolásban lévő mindegyik küldeménydarab ilyen jelölése jól látható kívülről.
5.2.1.7.2 Minden küldeménydarabon, az engedményes küldeménydarabok kivételével, a csomagolás külső oldalára jól olvashatóan és tartósan rá kell írni az áru UN számát, amely elé az „UN” rövidítést kell írni és helyes szállítási megnevezését. Az engedményes küldeménydarabokat az 5.1.5.4.1 pont előírásai szerint kell megjelölni.
5.2.1.7.3 Az 50 kg bruttó tömegnél nehezebb küldeménydarabokon a csomagolás külső oldalán jól olvashatóan és tartósan fel kell tüntetni az engedélyezett bruttó tömeget.
5.2.1.7.4 Minden küldeménydarabon, amely:
a) valamely IP-1 típusú, IP-2 típusú vagy IP-3 típusú küldeménydarab-mintának felel meg, a csomagolás külső oldalán jól olvashatóan és tartósan fel kell tüntetni az „IP-1 TÍPUS”, „IP-2 TÍPUS”, ill. „IP-3 TÍPUS” feliratot;
b) valamely A típusú küldeménydarab-mintának felel meg, a csomagolás külső oldalán jól olvashatóan és tartósan fel kell tüntetni az „A TÍPUS” feliratot;
c) valamely IP-2 típusú, IP-3 típusú, illetve A típusú küldeménydarab-mintának felel meg, a csomagolás külső oldalán jól olvashatóan és tartósan fel kell tüntetni a minta származási országa nemzetközi közúti forgalomban részt vevő
1) A műszaki megnevezés helyett a következő megnevezések is engedélyezettek:
– az UN 1078 hűtőgáz, m.n.n. esetében: F1 keverék, F2 keverék, F3 keverék;
– az UN 1060 metil-acetilén és propadién keverék, stabilizált esetén: P1 keverék, P2 keverék;
– az UN 1965 szénhidrogén-gáz keverék, cseppfolyósított, m.n.n. esetén: A keverék vagy bután, A01 keverék vagy bután, A02 keverék vagy bután, A0 keverék vagy bután, A1 keverék, B1 keverék, B2 keverék, B keverék, C keverék vagy propán;
– az UN 1010 butadiének, stabilizált esetén: 1,2-butadién, stabilizált, 1,3-butadién, stabilizált;
– az UN 1012 esetén: 1-butén, cisz-2-butén, transz-2-butén, butén keverékek.
járművein alkalmazott megkülönböztető jelzését2), valamint a gyártó nevét vagy a küldeménydarab egyéb azonosítóját, melyet a minta származási országának illetékes hatósága határozott meg.
5.2.1.7.5 Minden küldeménydarabon, amely az 1.6.6.2.1, az 5.1.5.2.1, a 6.4.22.1 – 6.4.22.4 és a 6.4.23.4 – 6.4.23.7 pontok szerint jóváhagyott valamely mintának felel meg, a küldeménydarab külső oldalán jól olvashatóan és tartósan a következő információkat kell feltüntetni:
a) az erre a mintára az illetékes hatóság által kiadott azonosító jelet;
b) a sorozatszámot, amely lehetővé teszi minden egyes, a mintának megfelelő csomagolás egyértelmű azonosítását;
c) B(U), B(M) vagy C típusú küldeménydarab-minta esetén a „B(U) TÍPUS”,
„B(M) TÍPUS”, ill. „C TÍPUS” feliratot.
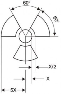
5.2.1.7.6 Minden B(U), B(M) vagy C típusú mintának megfelelő küldeménydarabot el kell látni a legkülső tűz- és vízálló tartály külső oldalán beütéssel, domborítással vagy más eljárással tűz- és vízálló módon felvitt következő sugárveszély szimbólummal:

Sugárveszély szimbólum
X sugarú belső körre vonatkozó arányokkal. Az X megengedett legkisebb mérete 4 mm.
Az 5.2.1.7.4 pont a) és b) és az 5.2.1.7.5 pont c) alpontjának a küldeménydarab- mintára vonatkozó követelményei szerint a küldeménydarabon elhelyezett minden olyan jelölést, amely nem vonatkozik a szállított áru UN száma és helyes szállítási megnevezése alapján a küldeményre, el kell távolítani vagy le kell takarni.
5.2.1.7.7 Ha az LSA-I anyag vagy SCO-I tárgy tartályban, ill. burkolóanyagban van és a
4.1.9.2.4 pont szerint kizárólagos használat mellett szállítják, a tartály, ill. a burkolóanyag külső felületére felírható a „RADIOACTIVE LSA-I”, illetve a
„RADIOACTIVE SCO-I” felirat.
2) A nyilvántartó államnak a nemzetközi közúti forgalomban részt vevő gépjárműveken és pótkocsikon alkalmazott megkülönböztető jelzése, pl. a Közúti Közlekedésről szóló Genfi Egyezmény (1949) vagy a Közúti Közlekedésről szóló Bécsi Egyezmény (1968) szerint.
5.2.1.7.8 Az illetékes hatóság gyártási minta engedélyéhez, ill. szállítási engedélyéhez kötött küldeménydarabok bármely nemzetközi szállítása esetén, ha a szállításban érintett országokban különböző engedélytípusok szükségesek, a jelölést a gyártási minta származási országában kiadott engedélynek megfelelően kell végrehajtani.